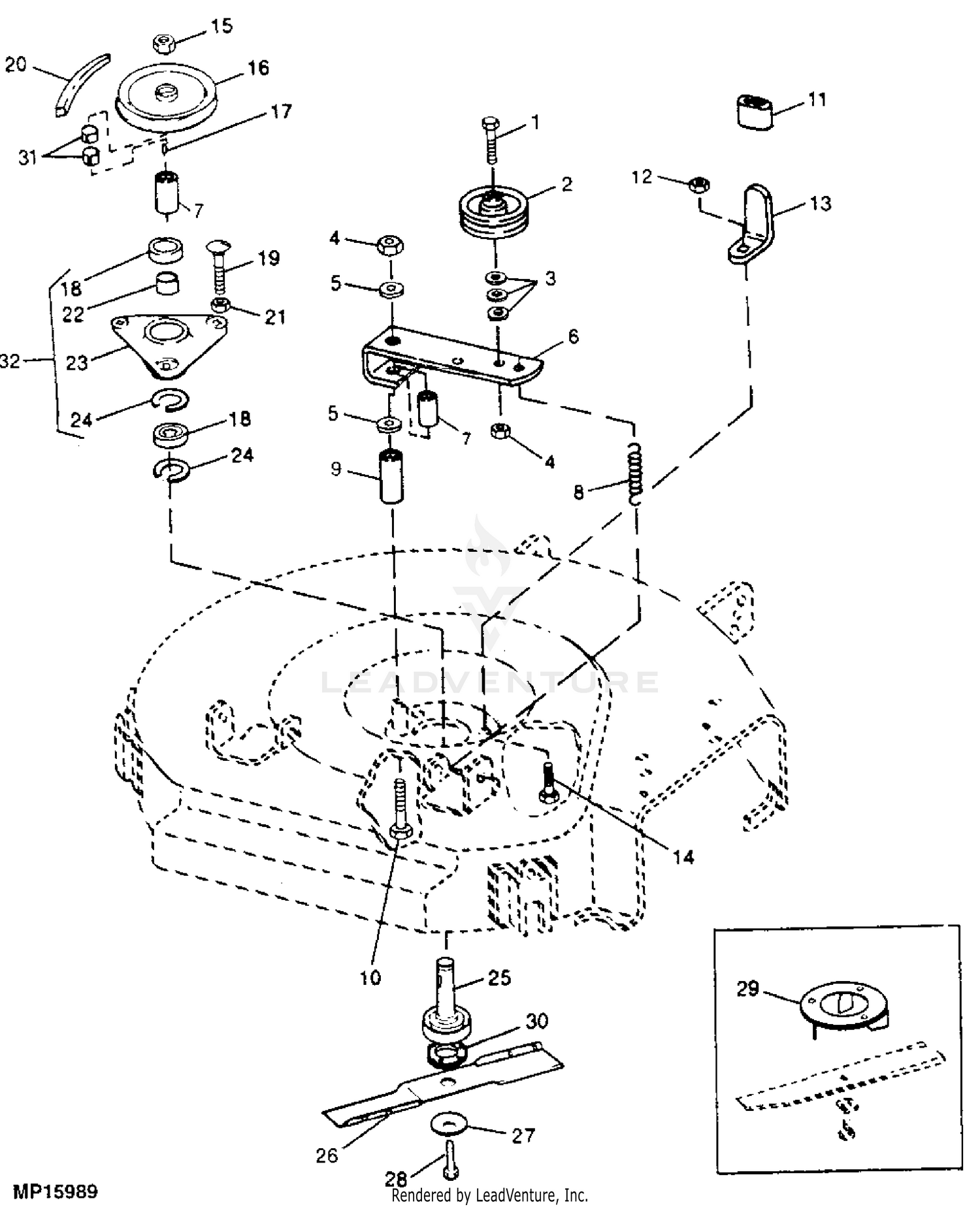
John deere 111 outlet deck belt
John deere 111 outlet deck belt, How to Install Deck Belt on John Deere Mower YouTube outlet
$0 today, followed by 3 monthly payments of $16.67, interest free. Read More
John deere 111 outlet deck belt
How to Install Deck Belt on John Deere Mower YouTube
John Deere 111 Hydrostatic Lawn Tractor PC1699 Spindle Blade Hi
John Deere 111 riding mower 11 HP Briggs and Stratton motor 38
JONSERED CENTRE PULLY stack to deck belt Rider FR2311 FR2312 FR
Was given a Older JD Mower Deck not sure how old Green Tractor Talk
Lawn Mower Deck Belt 1 2
max-e.com.co
Product Name: John deere 111 outlet deck beltjd 111 mower deck drive belt My Tractor Forum outlet, 111mower deck Green Tractor Talk outlet, John Deere 111 Hydrostatic Lawn Tractor PC1699 JACKSHEAVE BELTS outlet, John Deere 111 Hydrostatic Lawn Tractor PC1699 DRIVE BELT IDLER outlet, 5 8 outlet, 111 mower deck help My Tractor Forum outlet, 5 8 outlet, How to remove mower deck on a John Deere L111 YouTube outlet, Deere 111 Drive belt issue My Tractor Forum outlet, John Deere 111 Hydrostatic Lawn Tractor PC1699 SPINDLE BLADE 30 outlet, JOHN DEERE 111 38 outlet, 5 8 outlet, 111 mower deck help My Tractor Forum outlet, John Deere 111 Blade spindel assembly replacment PT2 8 20 2015 outlet, anyone know the correct spring for this mower deck off a 1982 108 outlet, TractorData John Deere 111 tractor information outlet, John Deere 111 deck mounting YouTube outlet, Deere 111 Drive belt issue My Tractor Forum outlet, John Deere Tractor 100 Series Drive Belts 42 inch Yellow Deck Belt outlet, 5 8 outlet, John deere 111 help Green Tractor Talk outlet, SOLVED John Deere 111 mower deck assembly John Deere Fixya outlet, John Deere decks by crigby outlet, Gt 230 john deere tractor lawn mower deck outlet, JOHN DEERE STX38 Lawn Mower Tractor 38 Yellow complete Mower Deck outlet, John Deere OEM Mower Deck Belt 108 111 H 112 L 130 160 165 170 175 outlet, JOHN DEERE 111 RIDING LAWN MOWER JANUARY CONSIGNMENT WE HAVE outlet, Castel Garden Cutter Belt XDC140 XDC150 N90 NJX90 XG135 XG140 outlet, SPF Deck Belt 5 8 outlet, Drive Belt for a John Deere L111 outlet, TractorData John Deere 111 tractor information outlet, John Deere 111 Hydrostatic Lawn Tractor PC1699 JACKSHEAVE BELTS outlet, John Deere L120 Deck Belt Diagram Q A for Easy Belt Replacement outlet, 38 outlet, M88184 PRIMARY DECK BELT 108 111 116 111H 112L 116H STX30 STX38 YELLOW DECK outlet, BELT DECK DRIVE 5 8 X 111 3 8In. JOHN DEERE 12077 ROTARY outlet, 2019 John Deere X370 Van Wall Equipment outlet, John Deere 111 lawn tractor in Abilene KS Item AB9775 sold outlet, 5 8 outlet, Fascinatte 12 X 146 Deck Belt M154621 for John Deere X300 X304 outlet, What decks fit a JD 212 Weekend Freedom Machines outlet, John Deere Mower Decks farm garden by owner sale craigslist outlet, Rider R112 C Rider 111 B Jonsered FR2311 M FR2312 MA Cutter Deck outlet, How to Install Deck Belt on John Deere Mower YouTube outlet, John Deere 111 Hydrostatic Lawn Tractor PC1699 Spindle Blade Hi outlet, John Deere 111 riding mower 11 HP Briggs and Stratton motor 38 outlet, JONSERED CENTRE PULLY stack to deck belt Rider FR2311 FR2312 FR outlet, Was given a Older JD Mower Deck not sure how old Green Tractor Talk outlet, Lawn Mower Deck Belt 1 2 outlet, John Deere 345 farm garden by owner sale craigslist outlet.
- 
                        
                            Next Day Delivery by DPD
                        
                        
                            Find out more
                        
                        
Order by 9pm (excludes Public holidays)
$11.99
 - 
                        
                            Express Delivery - 48 Hours
                        
                        
                            Find out more
                        
                        
Order by 9pm (excludes Public holidays)
$9.99
 - 
                        
Standard Delivery $6.99 Find out more
Delivered within 3 - 7 days (excludes Public holidays).
 - 
                        
Store Delivery $6.99 Find out more
Delivered to your chosen store within 3-7 days
Spend over $400 (excluding delivery charge) to get a $20 voucher to spend in-store - 
                        
International Delivery Find out more
International Delivery is available for this product. The cost and delivery time depend on the country.
 
You can now return your online order in a few easy steps. Select your preferred tracked returns service. We have print at home, paperless and collection options available.
You have 28 days to return your order from the date it’s delivered. Exclusions apply.
View our full Returns and Exchanges information.
Our extended Christmas returns policy runs from 28th October until 5th January 2025, all items purchased online during this time can be returned for a full refund.
Find similar items here:
John deere 111 outlet deck belt
- john deere 111 deck belt
 - john deere 54 in deck belt
 - john deere gx85 drive belt
 - toro 74778 deck belt
 - 38 deck belt
 - briggs and stratton lawn mower belt replacement
 - cub cadet ltx 1050 deck parts
 - d130 john deere belt
 - john deere z255 drive belt replacement
 - stx46 deck belt